Salta al contenuto principale

Aprilia brevetta le "leg wings": le ali da MotoGP pronte per la strada

Un nuovo brevetto svela pannelli aerodinamici fissati alle pedane passeggero della RSV4. Meno resistenza, più carico in curva: ancora una volta la pista incontra la strada

Già viste in pista

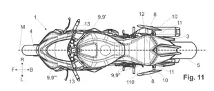
Le leg wings posizionate ai lati della moto all'altezza delle gambe del pilota, hanno fatto la loro comparsa sulle RS-GP nel 2025. Aprilia, poi, in una versione più stradale li ha già portati in produzione — per modo di dire — sulla RSV4 X-GP: gioiello pronto pista realizzato in soli 30 esemplari a circa 50.000 euro l'uno. Roba per pochissimi eletti. Adesso, però, un nuovo brevetto depositato da Piaggio suggerisce che la storia non finisca lì. I disegni tecnici mostrano una versione delle leg wings progettata per le moto stradali, con una soluzione di montaggio che cambia tutto rispetto all'approccio usato sulla X-GP: invece di integrare i pannelli nella zona del codone — operazione costosa e strutturalmente impegnativa — il sistema prevede di avvitarli direttamente agli attacchi delle pedane passeggero. Si tolgono le pedane, si montano le ali. Fine. 

Il brevetto lo dice chiaro: "È possibile montare la coppia di ali come accessorio su qualsiasi moto stradale dotata di pedane passeggero." Tradotto in soldoni: potenzialmente compatibile anche con la RS 660, e in linea teorica con qualsiasi altro modello che abbia quegli attacchi. Poi, che su qualsiasi altro modello diverso dalla RSV4 abbaino senso, è tutto un altro paio di maniche. 

Image

Ma saranno veramente utili?

Come funzionano

La logica aerodinamica dietro questi pannelli è elegante nella sua semplicità, e non richiede elettronica attiva né parti mobili. In rettilineo, i pannelli si allineano con la parte esterna degli stivali e dei polpacci del pilota, creando una superficie più pulita per il flusso d'aria che scorre lungo le fiancate della moto. Visti dall'alto, si restringono verso la coda formando un profilo svasato che riduce le turbolenze generate dalle gambe: meno resistenza, qualche km/h in più di punta o qualche centesimo di litro di carburante risparmiato, a seconda di come la si vuole leggere.
Il vero vantaggio arriva però in curva. Quando il pilota si appende all'interno della piega, il pannello sul lato interno si espone al flusso d'aria ed entra in funzione come un piccolo profilo alare orientato quasi parallelamente all'asfalto, generando carico aerodinamico verso il basso proprio dove serve di più: sul posteriore, nella fase critica di percorrenza della curva. Il pannello opposto resta invece schermato dalla gamba del pilota, evitando forze contrastanti dall'altro lato. Due funzioni diverse dallo stesso componente fisso, senza muovere nulla.

Leggi altro su:
Aggiungi un commento