Honda, nuovi brevetti per gli airbag da moto
Honda torna sul progetto di airbag da moto con tre nuovi brevetti. A differenza del sistema già visto sulla Gold Wing, in questo caso le soluzioni sviluppate dalla casa giapponese sono dedicate agli scooter di piccola cilindrata
Spy
Airbag Honda

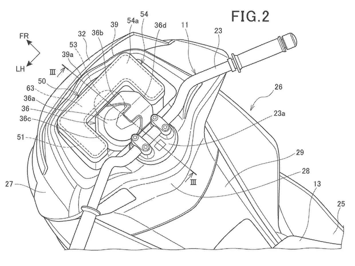
A sinistra il sistema airbag montato direttamente sul manubrio, a destra un'altra versione in cui è alloggiato attorno al cruscotto
Trascorsi 15 anni dal lancio del primo sistema airbag per moto, che era e rimane tutt'oggi un'esclusiva della Gold Wing, Honda torna sul progetto con nuovi brevetti.
I tre nuovi progetti sono applicati a un PCX, e la forma dell'airbag è molto diversa da quella del dispositivo dellla Gold Wing: in quel caso l'airbag ha una classica forma a palloncino, che va a riempiere lo spazio tra il pilota e il manubrio (qui vi mostravamo in un video come funziona), i nuovi brevetti invece mostrano una soluzione più simile a quella degli airbag laterali istallati sulle automobili. L’idea di Honda - molto semplice in realtà - si direbbe quella di voler fornire una sorta di “cuscino” protettivo utile a mitigare eventuali lesioni da impatto piuttosto che, come sulla Gold Wing, progettato per mantenere il pilota fermo al suo posto. In una immagine, per esempio, l'airbag è posizionato appena davanti al manubrio e si ripiega in un involucro a forma di C che circonda il cruscotto. In un'altra (in gallery), il dispositivo risulta invece montato più avanti, davanti agli strumenti e sotto il parabrezza della moto, con tanto di sistema di “ribaltamento” del quadro strumenti per consentire il gonfiaggio della sacca, un'altra soluzione invece lo posiziona direttamente sopra il manubrio. Impossibile sapere quale delle tre verrà - nel caso - industrializzata, trattandosi di soli brevetti, non sappiamo nemmeno se il progetto sarà effettivamente portato avanti. Non possiamo che attendere eventuali sviluppi. Ovviamente, vi terremo aggiornati.
I tre nuovi progetti sono applicati a un PCX, e la forma dell'airbag è molto diversa da quella del dispositivo dellla Gold Wing: in quel caso l'airbag ha una classica forma a palloncino, che va a riempiere lo spazio tra il pilota e il manubrio (qui vi mostravamo in un video come funziona), i nuovi brevetti invece mostrano una soluzione più simile a quella degli airbag laterali istallati sulle automobili. L’idea di Honda - molto semplice in realtà - si direbbe quella di voler fornire una sorta di “cuscino” protettivo utile a mitigare eventuali lesioni da impatto piuttosto che, come sulla Gold Wing, progettato per mantenere il pilota fermo al suo posto. In una immagine, per esempio, l'airbag è posizionato appena davanti al manubrio e si ripiega in un involucro a forma di C che circonda il cruscotto. In un'altra (in gallery), il dispositivo risulta invece montato più avanti, davanti agli strumenti e sotto il parabrezza della moto, con tanto di sistema di “ribaltamento” del quadro strumenti per consentire il gonfiaggio della sacca, un'altra soluzione invece lo posiziona direttamente sopra il manubrio. Impossibile sapere quale delle tre verrà - nel caso - industrializzata, trattandosi di soli brevetti, non sappiamo nemmeno se il progetto sarà effettivamente portato avanti. Non possiamo che attendere eventuali sviluppi. Ovviamente, vi terremo aggiornati.

A sinistra il sistema airbag montato direttamente sul manubrio, a destra un'altra versione in cui è alloggiato attorno al cruscotto Foto e immagini
Aggiungi un commento