Salta al contenuto principale

Yamaha R1: un brevetto per sognare la... Euro5+?

Prese d'aria attive per migliorare efficienza e raffreddamento: un nuovo brevetto per la R1 fa sognare gli appassionati, orfani dal 2025, di una versione omologata per l'uso stradale. E se fosse l'indizio per una versione Euro5+?

Aerodinamica adattiva: dai brevetti all'applicazione reale

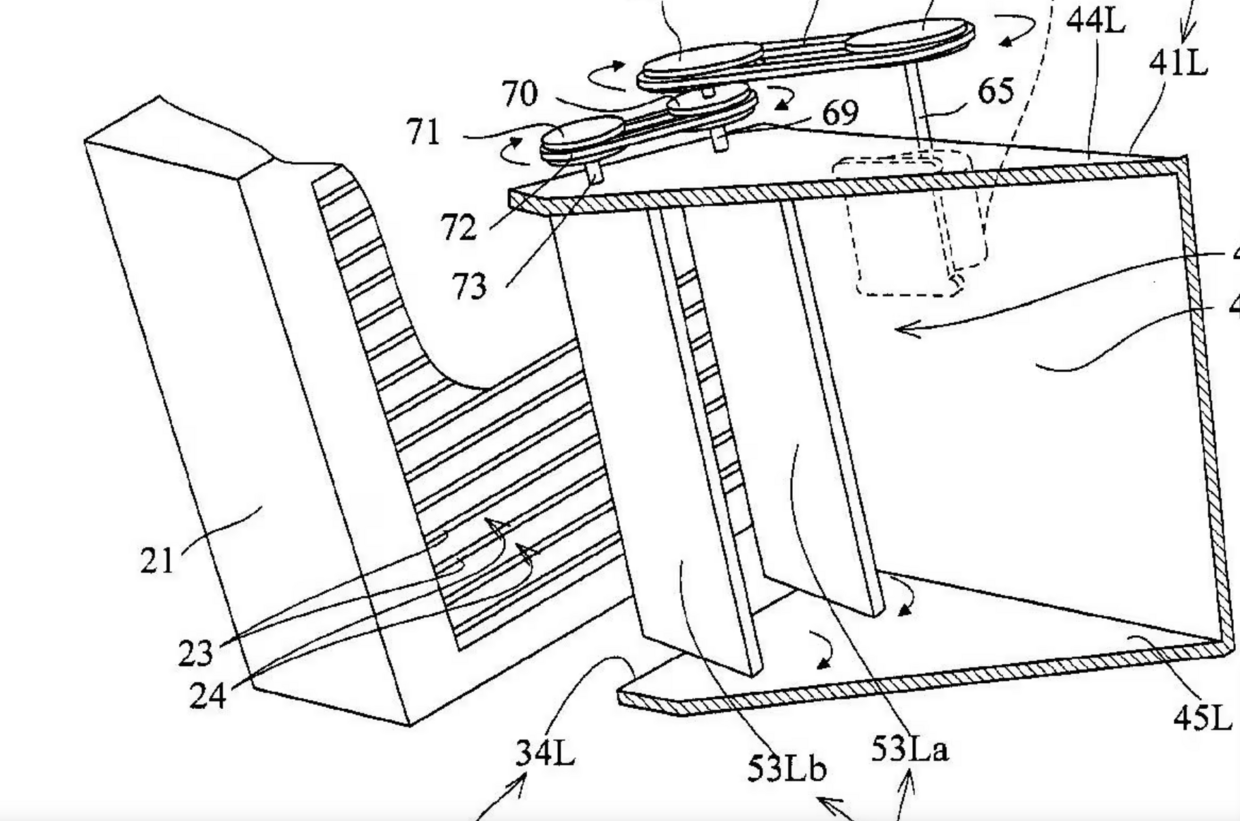
Un recente brevetto depositato da Yamaha mostra un'interessante evoluzione nella progettazione della YZF R1 che attualmente, è disponibile sul mercato europeo solo come moto da pista (in Yamaha hanno deciso di non portare avanti lo sviluppo del motore in ottica Euro5+): un sistema di condotti d'uscita dell'aria con alette mobili, pensato per ottimizzare l'efficienza aerodinamica senza compromettere il raffreddamento. Il sistema prevede vani laterali integrati nella carenatura, dotati di paratie regolabili tramite motorini passo-passo, comandati dalla centralina del veicolo. Le paratie si aprono o chiudono in base a parametri come temperatura del motore, velocità del veicolo, posizione del gas, temperatura esterna e persino temperatura del catalizzatore, migliorando sia la gestione termica sia le emissioni.

Image

Nel dettaglio i condotti mobili brevettati da Yamaha

Migliorerebbe in tutto, anche nelle emissioni

Il principio è noto nel settore automobilistico, dove molte vetture moderne (ad esempio la BMW X5) impiegano griglie mobili per ottimizzare flussi d'aria e consumi. In campo motociclistico è invece una novità: Yamaha propone due versioni, con uno o due condotti mobili per lato. Quando i condotti sono chiusi, si riduce il flusso d'aria che attraversa il radiatore, migliorando l'efficienza aerodinamica e diminuendo la resistenza. Inoltre, si evita che l'aria turbolenta in uscita dal radiatore disturbi il flusso laminare lungo la carenatura. Il sistema è concepito per adattarsi automaticamente alle condizioni d'uso: in accelerazione massima, le paratie restano chiuse per ridurre la resistenza; in fase di raffreddamento o a basse velocità, si aprono per favorire la dispersione termica. Il controllo intelligente consente anche di portare rapidamente a regime il catalizzatore, migliorando la resa in termini di emissioni e quindi, in via del tutto ipotetica, di "accendere" quel "+" affianco alla dicitura Euro5... Insomma, dal Giappone ne parlano come di un'eventualità concreta, ma si sa, i brevetti non sono mai garanzia di produzione. E per quanto affascinante, un ritorno della R1 a nemmeno un anno dalla sua cancellazione, suonerebbe come una scelta quantomeno confusionaria da parte dei vertici di Iwata. 

Leggi altro su:
Aggiungi un commento