Salta al contenuto principale

Moto transformers: i cinesi hanno un sistema elettrico per cambiare la posizione di guida

Da sportiva a turistica (e viceversa) con un clic: il nuovo brevetto di CFmoto promette una posizione di guida adattiva senza stravolgere ciclistica o costi. Semplice, intelligente, potenzialmente rivoluzionario. Si farà davvero?

Moto "adattiva"?

L’idea non è nuova: da decenni si sogna una moto capace di passare in corsa da una posizione di guida sportiva e raccolta a una più rilassata ed eretta. Kawasaki, ad esempio, ha per più tempo "insistito" con il suo "Concept J", senza tuttavia giungere ad una reale e concreta realizzazione.   Ora però, la cinese CFmoto sembra pronta a rivoluzionare le cose con un sistema brevettato che consente di modificare posizione di guida senza stravolgere il telaio e – si spera – senza far lievitare i costi. Vediamo meglio di cosa si tratta.

Manubrio elettrico e pedane mobili

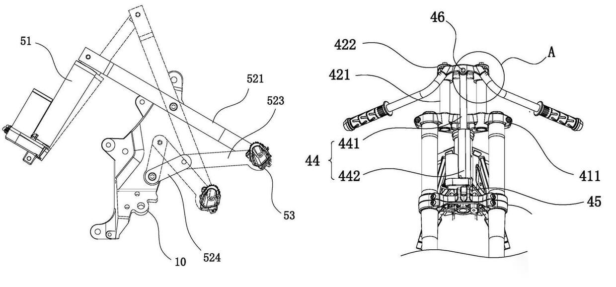
Il cuore dell’idea sta tutto qui: manubrio regolabile elettricamente in altezza e pedane che si spostano lungo un arco, verso l’alto e all’indietro per una guida sportiva, o verso il basso e in avanti per un’impostazione più turistica.

Il manubrio sta sempre sopra la forcella, con piastra superiore e cannotto standard. La differenza è che, invece di essere fissati direttamente alla piastra, i semimanubri sono collegati a un supporto in alluminio che scorre su due guide inserite nella parte superiore della piastra. Un terzo perno, collegato frontalmente al supporto manubrio, scende fino a un attuatore elettromeccanico che ne comanda l’altezza, tutto controllato da una centralina. In basso, il manubrio assume la forma raccolta dei classici clip-on da sportiva; in alto, si avvicina invece all’impostazione più rilassata delle naked da città. Il bello è che l’intero sistema può essere montato praticamente su qualunque moto, semplicemente sostituendo la piastra superiore, aggiungendo l’attuatore e i nuovi manubri: nessuna modifica al telaio.

Anche le pedane si regolano con un sistema semplice, ciascuna comandata da un attuatore lineare. A patto che il telaio sia predisposto con i classici supporti a due bulloni (come la maggior parte delle sportive), il montaggio è diretto. Il perno superiore diventa fulcro per un braccio in lega leggera, con la pedana su un’estremità e l’attuatore sull’altra. Quando l’attuatore si estende, la pedana scende e avanza; quando si ritrae, sale e arretra. Un secondo leveraggio si collega al supporto inferiore della pedana per stabilizzare il tutto lateralmente, pur lasciando libertà verticale.

Perché non l’ha fatto nessuno prima?

Il sistema è talmente semplice che viene spontaneo chiederselo. La risposta, forse, è nei recenti progressi delle trasmissioni semi-automatiche. Il brevetto non prevede infatti alcun meccanismo per far spostare anche leva del cambio e pedale del freno posteriore insieme alle pedane – aggiungerli complicherebbe notevolmente l’insieme. Ma se il cambio è gestito da pulsanti e frizione automatica, e il freno posteriore viene spostato sulla leva sinistra al manubrio, ecco che i comandi a pedale possono scomparire, lasciando campo libero a un sistema di regolazione attiva davvero semplice e, forse, finalmente possibile.

Image
Aggiungi un commento