Kawasaki, nuovi brevetti per gli "aiuti alla guida"
Sensori di ogni tipo, laser, fotocamere e dispositivi GPS, le moto del futuro “prenderanno” i comandi, lasciando al pilota sempre meno spazio.Ecco i nuovi brevetti Kawasaki in tema di “aiuti alla guida”
News
Kawasaki e gli "aiuti alla guida"
Anticipato da brevetti depositati da Kawasaki e prontamente trapelati dal web, il nuovo sistema di “aiuti alla guida” messo a punto in quel di Akashi promette una “rivoluzione” di non poco conto. L’idea è quella di sfruttare laser, telecamere e dispositivi satellitari per consentire alla moto (e quindi al pilota) di sapere con precisione cosa sta succedendo (o addirittura cosa sta per accadere) sulla strada.
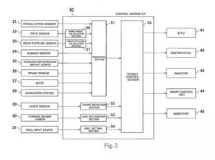
I brevetti mostrano “diavolerie elettroniche” nascoste praticamente dappertutto: sensori posizionati sotto alla sella e sulle pedane per conoscere l’esatta posizione del pilota, telecamere che monitorano la strade ed in grado di riconoscere corsie e curve, laser che misurano la distanza dagli altri veicoli e dispositivi GPS che, in tempo reale, aiutano il pilota a comprendere l’esatto percorso della strada e la morfologia del territorio.
Nei progetti Kawasaki sembrerebbe perfino esserci un sistema di raccolta dati in grado di valutare il pilota. La moto potrebbe imparare a conoscerci più di quanto facciamo noi stessi…
Meglio affidarsi alle capacità, alla sensibilità ed all’esperienza del pilota, oppure mettere la sicurezza di quest’ultimo nelle “mani” dei microchip? Più il tempo passa, più la domanda si fa pressante: è indubbio che il prossimo futuro, che poi è già quasi il presente, abbia in serbo per la mobilità rivoluzioni (certo positive in fatto di sicurezza alla guida) finora solo immaginate. Si tratta però di capire in che modo queste saranno poi effettivamente applicate.
I brevetti mostrano “diavolerie elettroniche” nascoste praticamente dappertutto: sensori posizionati sotto alla sella e sulle pedane per conoscere l’esatta posizione del pilota, telecamere che monitorano la strade ed in grado di riconoscere corsie e curve, laser che misurano la distanza dagli altri veicoli e dispositivi GPS che, in tempo reale, aiutano il pilota a comprendere l’esatto percorso della strada e la morfologia del territorio.
Nei progetti Kawasaki sembrerebbe perfino esserci un sistema di raccolta dati in grado di valutare il pilota. La moto potrebbe imparare a conoscerci più di quanto facciamo noi stessi…
Meglio affidarsi alle capacità, alla sensibilità ed all’esperienza del pilota, oppure mettere la sicurezza di quest’ultimo nelle “mani” dei microchip? Più il tempo passa, più la domanda si fa pressante: è indubbio che il prossimo futuro, che poi è già quasi il presente, abbia in serbo per la mobilità rivoluzioni (certo positive in fatto di sicurezza alla guida) finora solo immaginate. Si tratta però di capire in che modo queste saranno poi effettivamente applicate.
Foto e immagini
Aggiungi un commento