Salta al contenuto principale

Honda brevetta la moto con lo sterzo che funziona da solo

Honda pensa ad un nuovo sistema di sterzo “assistito” in grado di intervenire autonomamente per evitare ostacoli. Il brevetto combina sensori e attuatori elettrici per modulare micro-movimenti del manubrio

Uno sterzo “assistito” 

Honda sta lavorando a un nuovo sistema di aiuto alla guida. L’idea alla base del brevetto è semplice nella logica, ma complessa nella realizzazione: un manubrio capace di muoversi autonomamente per correggere una traiettoria “sbagliata” o pericolosa. Vediamo come potrebbe funzionare.

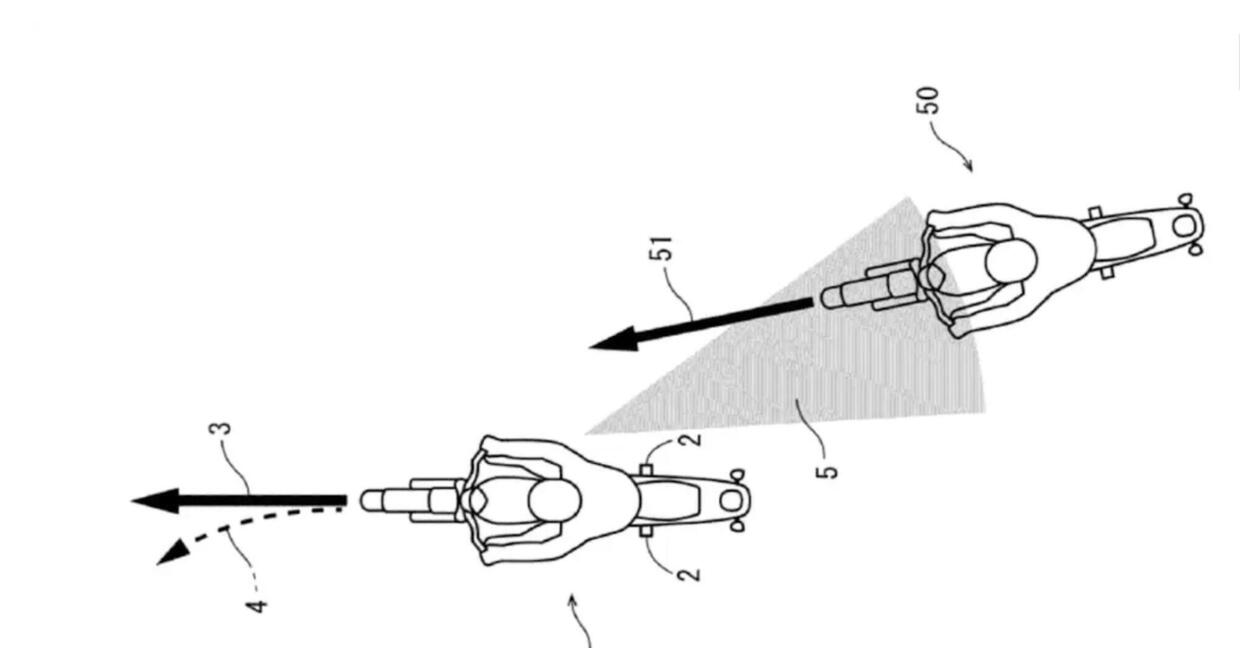
Come funziona il sistema

Il brevetto prevede un insieme di telecamere e sensori in grado di monitorare gli angoli ciechi e rilevare potenziali pericoli. In caso di necessità, un piccolo attuatore elettrico andrebbe ad applicare una forza sul manubrio per “indurre” la moto a spostarsi lateralmente. Il meccanismo sfrutta in pratica il principio del controsterzo: per deviare a destra, il sistema imprime un micro-impulso verso sinistra e viceversa. Il tutto, è chiaro, in frazioni di secondo. Sembra facile, ma non è così: il sistema dovrà tenere conto della fisica - assai complessa - della moto, che si mantiene in equilibrio grazie a dinamiche delicate. Tutt’altra cosa rispetto al volante di un’auto che sterza di pochi gradi. Ogni intervento dovrà quindi essere calibrato con estrema precisione per non destabilizzare la moto o “spaventare” il pilota.

Il ruolo del pilota

Come già abbiamo visto in altre occasioni, quando si parla di aiuti alla guida applicati alle due ruote, la relazione tra uomo e macchina diventa, molto più che nelle quattro ruote, fondamentale. Poiché il manubrio è e rimane il principale sensore attraverso cui il motociclista percepisce ciò che accade sotto le ruote, Honda ha previsto sensori di coppia ultra-sensibili: se il pilota decide di sterzare, ad esempio, il sistema si disattiva immediatamente, mentre se dovesse interviene autonomamente, la forza sarebbe modulata in modo da poter essere contrastata. In altre parole, il controllo resta sempre nelle mani di chi guida.

Zero vittime su strada

Lo sviluppo dello sterzo assistito rientra nell’ambizioso obiettivo di Honda di arrivare a zero vittime su strada entro il 2050. Al di là delle questioni legate alla percezione della guida, parte dell’essenza stessa della moto, prima di un eventuale utilizzo su strada del dispositivo rimangono da risolvere scenari complessi. Ad esempio come il sistema reagirebbe a un falso ostacolo mentre la moto è inclinata in curva a 100 km/h. Sfide che i tecnici giapponesi stanno affrontando con l’obiettivo di combinare sicurezza e controllo senza compromettere l’esperienza di guida.

Il brevetto di Honda, è chiaro, non nasce dal nulla ma, al contrario, è il proseguo di numerosi e precedenti sudi in materia: Un sistema Honda avvisa dell’intervento dei dispositivi di sicurezza.

Aggiungi un commento