Futuro prossimo: il curioso sistema di Honda per raffreddare i freni
Un nuovo brevetto Honda mira a ridurre il surriscaldamento degli pneumatici agendo sulla trasmissione del calore dai freni
Tecnologia anti-surriscaldamento
La gestione della temperatura degli pneumatici è diventata cruciale nel contesto delle corse, soprattutto in MotoGP, dove le pressioni minime degli pneumatici sono monitorate costantemente per motivi di sicurezza e regolamento. Honda ha depositato un nuovo brevetto che affronta questo problema, presentando un sistema innovativo per limitare la trasmissione del calore generato dalla frenata verso lo pneumatico anteriore. Sebbene il brevetto mostri il sistema applicato a una CBR250RR destinata al mercato asiatico, le implicazioni tecniche sono chiaramente rivolte all’impiego in ambito racing.
Design inedito per disco e ruota
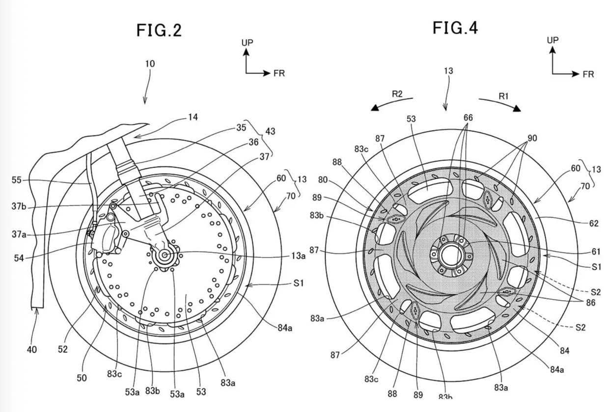
Il cuore dell’innovazione risiede nell’abbinamento tra dischi freno di grande diametro e una coppia di coperture aerodinamiche posizionate tra i dischi e la ruota stessa. Queste coperture, studiate per gestire i flussi d’aria, svolgono una doppia funzione: migliorare la dissipazione del calore e isolare termicamente il cerchio. Piccole protuberanze mantengono uno spazio d’aria costante tra la copertura e la ruota, evitando il passaggio diretto del calore. In questo modo si mira a ridurre l’influenza della temperatura dei freni sulla pressione del pneumatico, fattore che in gara può costringere i piloti a modificare la propria strategia.

Sono evidenti in questo disegno le piccole alette che contribuiscono a dissipare il calore
Possibili applicazioni in MotoGP
Anche se il documento non menziona esplicitamente l’utilizzo in MotoGP, la logica progettuale suggerisce un impiego in ambito racing. In particolare, l’isolamento termico consentirebbe ai team di impostare pressioni iniziali più alte, riducendo il rischio di sforare i limiti regolamentari durante la gara. Inoltre, l’indipendenza tra temperatura dei freni e quella dello pneumatico potrebbe garantire una maggiore costanza nelle prestazioni e una migliore durata degli pneumatici. Un dettaglio che, in un contesto competitivo come quello della MotoGP, può fare la differenza.