Salta al contenuto principale

CFMoto, un brevetto svela la nuova moto elettrica

Un nuovo brevetto mostra l’evoluzione del progetto, che punta su telaio strutturale e raffreddamento a liquido

Progetto dedicato, non derivato

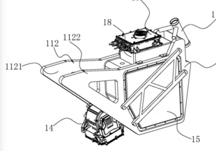
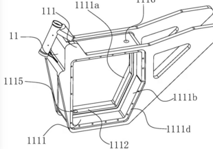
Nonostante la scarsa penetrazione delle moto elettriche sul mercato globale, CFMoto continua a investire nello sviluppo di modelli a batteria. Un nuovo brevetto depositato dalla casa cinese mostra i dettagli di una futura sportiva elettrica, che si distingue per soluzioni tecniche inedite rispetto al modello 450SR elettrificato già apparso in precedenti documenti. La moto illustrata nel brevetto adotta un’impostazione tecnica studiata appositamente per lei, con un telaio in alluminio che integra le batterie come parte strutturale. Il motore e la trasmissione sono collocati dietro il perno del forcellone, lasciando ampio spazio nella zona anteriore del telaio per l’alloggiamento di due batterie affiancate. Questa disposizione consente di ottimizzare il volume disponibile e contribuisce alla rigidità complessiva del veicolo. Nella foto in alto, una nostra interpretazione grafica. Sarà davvero così? 

Batterie strutturali e raffreddamento a liquido

Le due batterie, sottili, si montano lateralmente all’interno del telaio e delimitano uno spazio centrale sigillato, riempito con liquido di raffreddamento. Alcune alette collegate alle batterie si estendono in questo vano per favorire lo scambio termico, una soluzione che lascia ipotizzare la compatibilità con la ricarica rapida, scenario in cui la gestione del calore sprigionato diventa particolarmente critica. L’elettronica di controllo e il caricatore sono posizionati nella parte superiore del telaio, sotto una carenatura che richiama il serbatoio delle moto tradizionali. Il telaio prosegue fino alla coda per sostenere il gruppo sella, riducendo così il numero complessivo di componenti.

Image

Notare la compattezza delle batterie, un plus in termini di peso compelssivo

Una strategia in evoluzione

CFMoto non è nuova all’elettrico: con il marchio Zeeho già commercializza scooter e mezzi urbani, mentre è attesa la versione definitiva del concept CF-X da fuoristrada. In passato ha anche sviluppato la 300GT-E, modello a batterie destinato a impieghi istituzionali, mai arrivato sul mercato civile. Come molte altre aziende del settore, CFMoto sembra intenzionata a mantenere attive le linee di sviluppo in vista di un futuro nel quale le normative sulle emissioni e le scelte politiche potrebbero forzare un passaggio più deciso verso la mobilità a zero emissioni. L’adozione di soluzioni tecniche semplificate e a basso costo lascia intuire un posizionamento di mercato non estremo, ma orientato alla produzione di serie e alla competitività economica. Insomma, come ha sempre fatto con le sue moto termiche, ma questa volta in chiave green. 

Leggi altro su:
Aggiungi un commento