Moto volante: ecco i brevetti di Subaru
Subaru ha depositato alcuni brevetti che mostrano il funzionamento di una moto volante con ali pieghevoli, in grado di decollare e atterrare in verticale. Un mix tra una normale moto a benzina e un aereo monoposto con motori elettrici. Diventerà mai realtà?
News
Moto volante
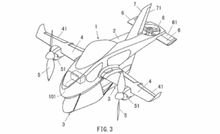
La russa Hoversurf potrebbe un giorno essere affiancata da un’altra moto volante progettata e costruita però dalla giapponese Subaru. Non è uno scherzo: depositati presso l'Ufficio brevetti e marchi degli Stati Uniti, i disegni mostrano in modo chiaro ed inequivocabile un veicolo a due ruote con tanto di ali e fusoliera e in grado di decollare e atterrare in verticale.

Come funziona
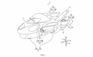
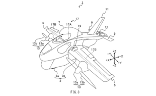
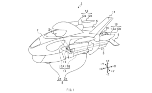
Particolarmente interessante è la conversione tra modalità aerea e terrestre: le ali si aprono al momento del decollo e si richiudono all’atterraggio. In volo, la spinta viene fornita dal rotore sulla coda e da due sulle ali alimentate da un motore elettrico collegato alla batteria. E fin qui si potrebbe pensare ad un “normale” aereo elettrico monoposto a decollo verticale. Ma c’è di più: al posto del “tradizionale” carrello, le immagini ci mostrano infatti qualcosa di molto più simile ad una motocicletta, con le ruote collegate al telaio tramite forcella e forcellone. In pratica, una moto con ali e fusoliera, con tanto di manubrio e manopola del gas che comanda il motore a combustione interna per la marcia su strada, accoppiato ad un generatore elettrico per la carica della batteria che alimenta i motori elettrici delle eliche. Se per la guida su strada i brevetti sembrano fare affidamento ai tradizionali comandi di una moto (leve freno anteriore e frizione, pedale del freno posteriore e leva del cambio sulle pedana destra e sinistra) si aggiungono per il volo altre due leve posizionate alle estremità del manubrio. Quella di destra (17) controlla la velocità delle eliche: inclinando la leva verso l'alto (nella direzione α) si aumenta la velocità dell'elica mentre inclinandola in avanti (β) la si rallenta. Quella di sinistra controlla invece l'inclinazione del veicolo: tirandola indietro si solleva il muso, spingendola in avanti lo si abbassa. Alle virate ci pensa invece il sistema steer-by-wire, progettato per tradurre la rotazione del manubrio a sinistra o a destra in un movimento di imbardata e rollio. Non solo: anche i comandi a pedale svolgono un ruolo nella modalità di volo, con le pedane progettate per controllare il rollio dell'aereo. Appositi sensori misurano la pressione dei piedi del pilota, traducendo elettronicamente i dati e regolando di conseguenza gli alettoni del velivolo. Un po’ come quando si scende in piega, esercitando una maggiore pressione su una pedana, l'aereo si inclinerà in quella direzione.
Fantasia o realtà?
Fantascienza? Non esattamente: per quanto complicati, i brevetti suggeriscono uno studio approfondito e già a buon punto, che potrebbe presto tradursi in realtà. D’altra parte, non deve stupire che a firmarli sia stata Subaru: noto ai più come casa automobilistica, il marchio giapponese è da tempo coinvolto nell'industria aerospaziale e, più in particolare, nella produzione di elicotteri e aerei a guida autonoma per conto della Japanese Self Defense Force. “Retroscena” che fanno della moto volante qui descritta qualcosa di più che un semplice progetto campato per aria…
La russa Hoversurf potrebbe un giorno essere affiancata da un’altra moto volante progettata e costruita però dalla giapponese Subaru. Non è uno scherzo: depositati presso l'Ufficio brevetti e marchi degli Stati Uniti, i disegni mostrano in modo chiaro ed inequivocabile un veicolo a due ruote con tanto di ali e fusoliera e in grado di decollare e atterrare in verticale.

Come funziona
Particolarmente interessante è la conversione tra modalità aerea e terrestre: le ali si aprono al momento del decollo e si richiudono all’atterraggio. In volo, la spinta viene fornita dal rotore sulla coda e da due sulle ali alimentate da un motore elettrico collegato alla batteria. E fin qui si potrebbe pensare ad un “normale” aereo elettrico monoposto a decollo verticale. Ma c’è di più: al posto del “tradizionale” carrello, le immagini ci mostrano infatti qualcosa di molto più simile ad una motocicletta, con le ruote collegate al telaio tramite forcella e forcellone. In pratica, una moto con ali e fusoliera, con tanto di manubrio e manopola del gas che comanda il motore a combustione interna per la marcia su strada, accoppiato ad un generatore elettrico per la carica della batteria che alimenta i motori elettrici delle eliche. Se per la guida su strada i brevetti sembrano fare affidamento ai tradizionali comandi di una moto (leve freno anteriore e frizione, pedale del freno posteriore e leva del cambio sulle pedana destra e sinistra) si aggiungono per il volo altre due leve posizionate alle estremità del manubrio. Quella di destra (17) controlla la velocità delle eliche: inclinando la leva verso l'alto (nella direzione α) si aumenta la velocità dell'elica mentre inclinandola in avanti (β) la si rallenta. Quella di sinistra controlla invece l'inclinazione del veicolo: tirandola indietro si solleva il muso, spingendola in avanti lo si abbassa. Alle virate ci pensa invece il sistema steer-by-wire, progettato per tradurre la rotazione del manubrio a sinistra o a destra in un movimento di imbardata e rollio. Non solo: anche i comandi a pedale svolgono un ruolo nella modalità di volo, con le pedane progettate per controllare il rollio dell'aereo. Appositi sensori misurano la pressione dei piedi del pilota, traducendo elettronicamente i dati e regolando di conseguenza gli alettoni del velivolo. Un po’ come quando si scende in piega, esercitando una maggiore pressione su una pedana, l'aereo si inclinerà in quella direzione.
Fantasia o realtà?
Fantascienza? Non esattamente: per quanto complicati, i brevetti suggeriscono uno studio approfondito e già a buon punto, che potrebbe presto tradursi in realtà. D’altra parte, non deve stupire che a firmarli sia stata Subaru: noto ai più come casa automobilistica, il marchio giapponese è da tempo coinvolto nell'industria aerospaziale e, più in particolare, nella produzione di elicotteri e aerei a guida autonoma per conto della Japanese Self Defense Force. “Retroscena” che fanno della moto volante qui descritta qualcosa di più che un semplice progetto campato per aria…
Foto e immagini
Aggiungi un commento